转载:https://news.zol.com.cn/892/8920293.html
2024-08-14 11:22:39·[??中关村在线 原创??]·作者:一便士的月亮
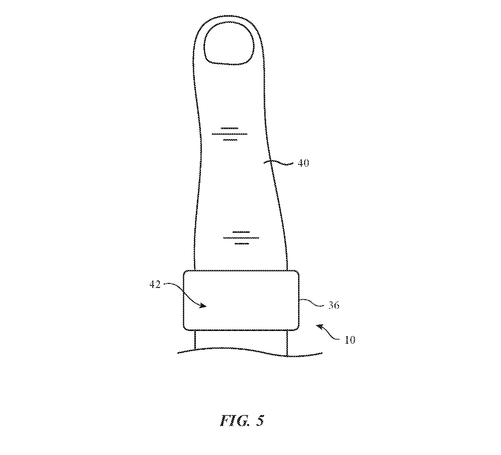
根据美国商标和专利局8月13日公示的清单,苹果公司获得了一项与智能戒指相关的专利。这项专利将为用户提供更无缝的使用体验,并且可以与其他设备如Apple Watch、Apple Vision Pro等进行交互。
据悉,该智能戒指包括各种传感器用于监控身体生理数据,并通过收集用户的输入来调整上述目标设备的运行参数等。目标电子设备可以通过感应用户注视点的注视跟踪传感器、检测用户设备指向方向的方向传感器或其他传感器电路来识别。
苹果公司在专利中表示,智能戒指还可以提供视觉反馈、音频反馈和/或触觉反馈以确认哪个电子设备已被识别为感兴趣的目标电子设备。此外,智能戒指还可以通过联动Apple Watch、Apple Vision Pro等产品带来更强大的功能。
这项智能戒指专利的公布意味着苹果公司正在积极研发相关产品,并为用户提供更加智能化、个性化和便捷化的体验。未来,随着技术的不断发展,我们可以期待更多类似产品的问世。
Apple/苹果 Watch Ultra2 智能手表GPS+蜂窝款49毫米钛金属表壳蓝色高山回环式表带大号MRFD3CH/A


相关论坛
相关广告

拨打电话